Application Type
Patents
Application SubType
PCT
(10) Registration Number and Date
Status
Filed-Accordance of filing date
(180) Expiration Date
(20) Filing Number and Date
PG P/2025/000024 2024.06.05
(40) Publication Number and Date
(86) PCT Filing Number and Date
(87) PCT Publication Number and Date
(85) National Entry Date
(30) Priority Details
AU 2024050589
2024.06.05
(72) Inventor
(EN) AGGREY, Philips Daniels : c/- Newcrest Mining LimitedLevel 8, 600 St Kilda RoadMelbourne, Victoria 3004
(74) Representative Name
(EN) VAI IP & COMMERCIAL : Heliconia Suite Office 7, Airways Residence, 7 Mile,
(54) Title
(EN) STEEP PIT WALL MINING
(57) Abstract
(EN)

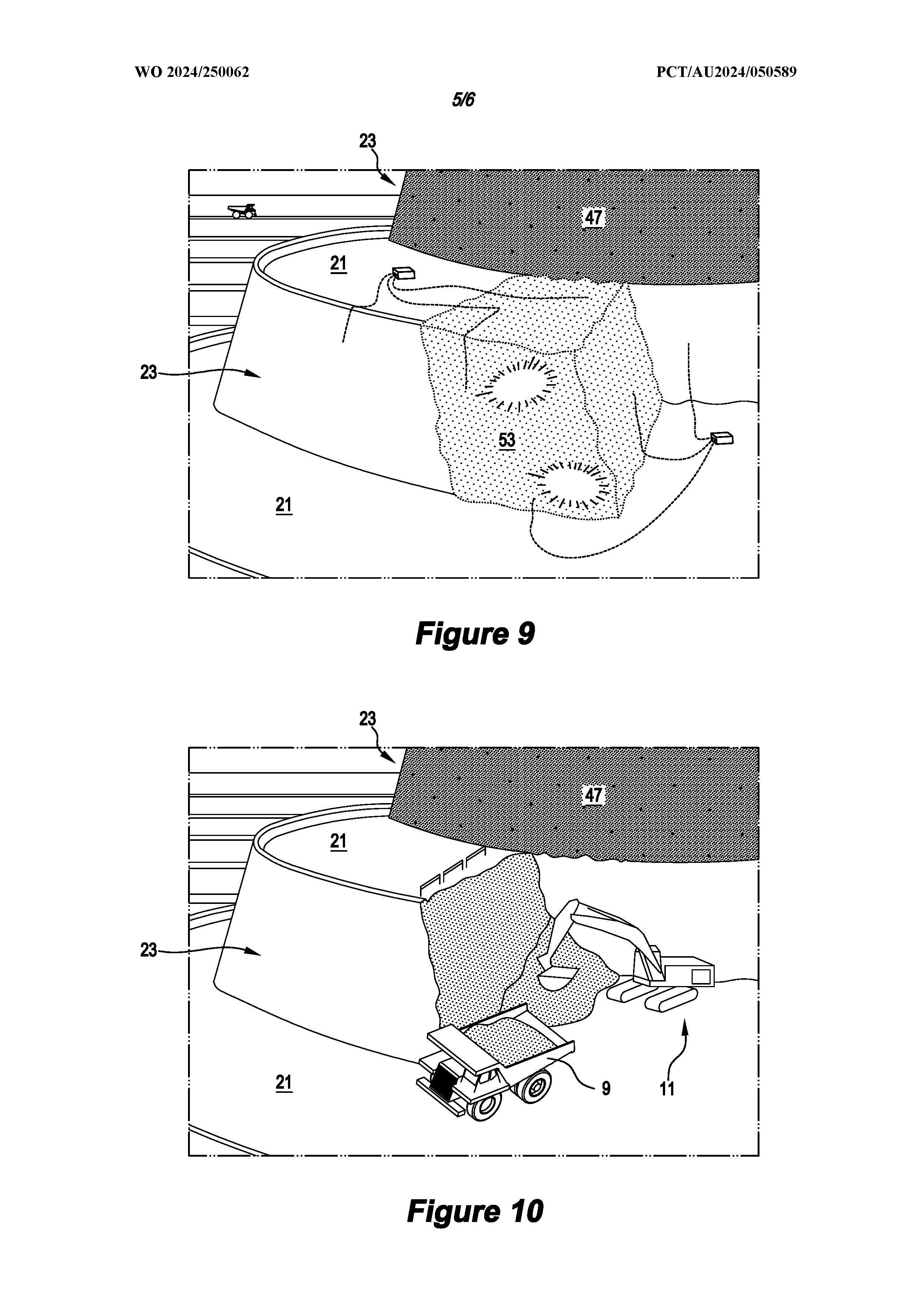
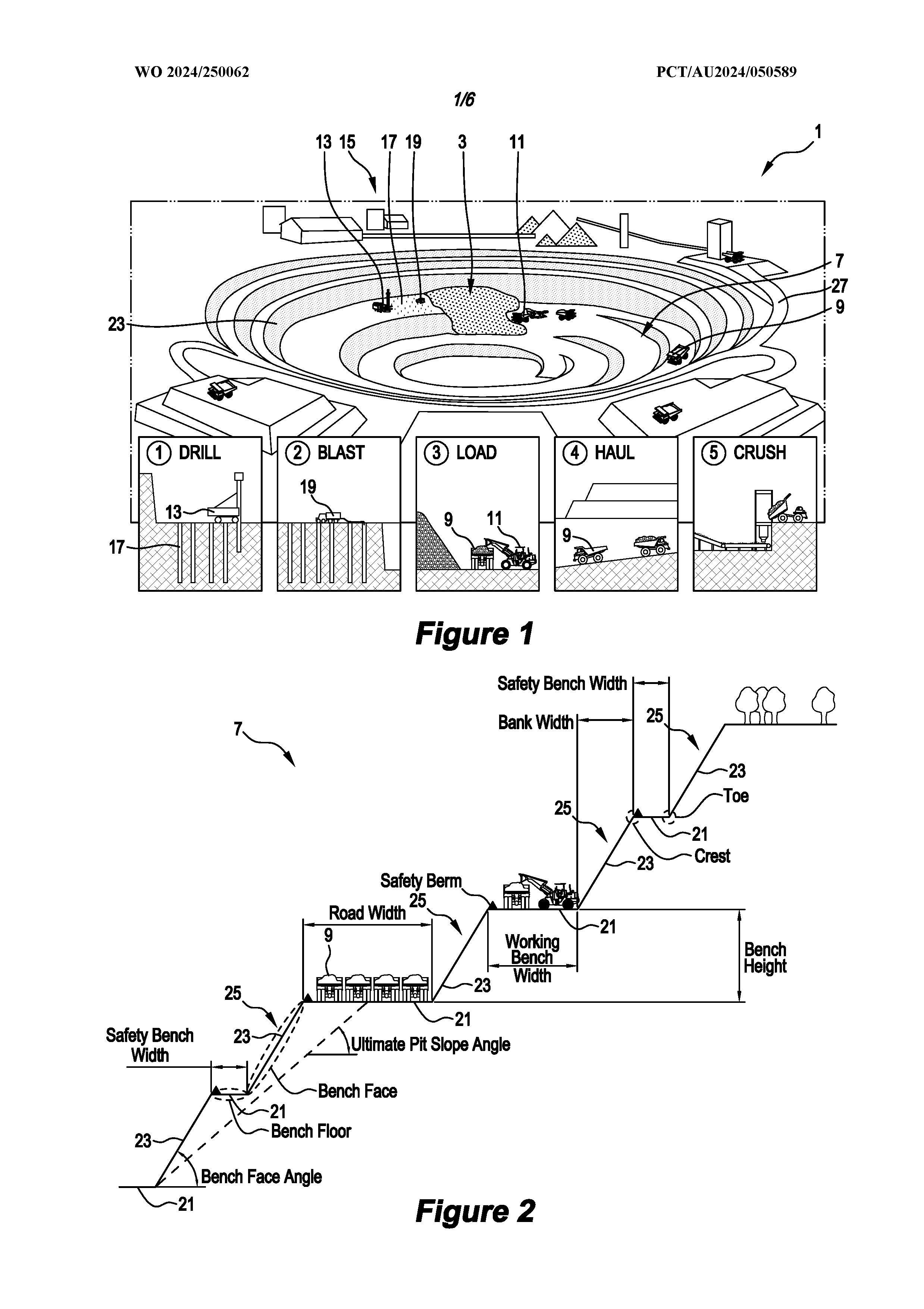
An open pit mine and a mining method are disclosed. The mine comprises a mine pit defined by a pit wall 31, with a target area 29 of the pit wall including a plurality of batters 23 separated by berms 51 and a civil engineering support system for the pit wall. The civil engineering support system makes it possible for the pit wall to have a pit wall slope angle that is greater than would have been possible for safe mining without the civil engineering support system.

(58) Citations
Document Type Date Action
Event NameDateStatus
Filing2024.06.05Filed
PCT National Phase Entry2024.06.05PCT National Phase
Filing2025.12.01Filed