Application Type
Patents
Application SubType
PCT
(10) Registration Number and Date
Status
Filed-Accordance of filing date
(180) Expiration Date
(20) Filing Number and Date
PG P/2025/000025 2023.09.29
(40) Publication Number and Date
(86) PCT Filing Number and Date
(87) PCT Publication Number and Date
(85) National Entry Date
(30) Priority Details
(72) Inventor
(EN) FUJII Kengo : c/o JGC Corporation, 3-1, Minatomirai 2-chome, Nishi-ku, Yokohama-shi, Kanagawa2206001
(EN) KAKUTANI Yuzuru : c/o JGC Corporation, 3-1, Minatomirai 2-chome, Nishi-ku, Yokohama-shi, Kanagawa2206001
(EN) NAKAMURA Masayuki : c/o JGC Corporation, 3-1, Minatomirai 2-chome, Nishi-ku, Yokohama-shi, Kanagawa2206001
(74) Representative Name
(EN) VAI IP & COMMERCIAL : Heliconia Suite Office 7, Airways Residence, 7 Mile,
(54) Title
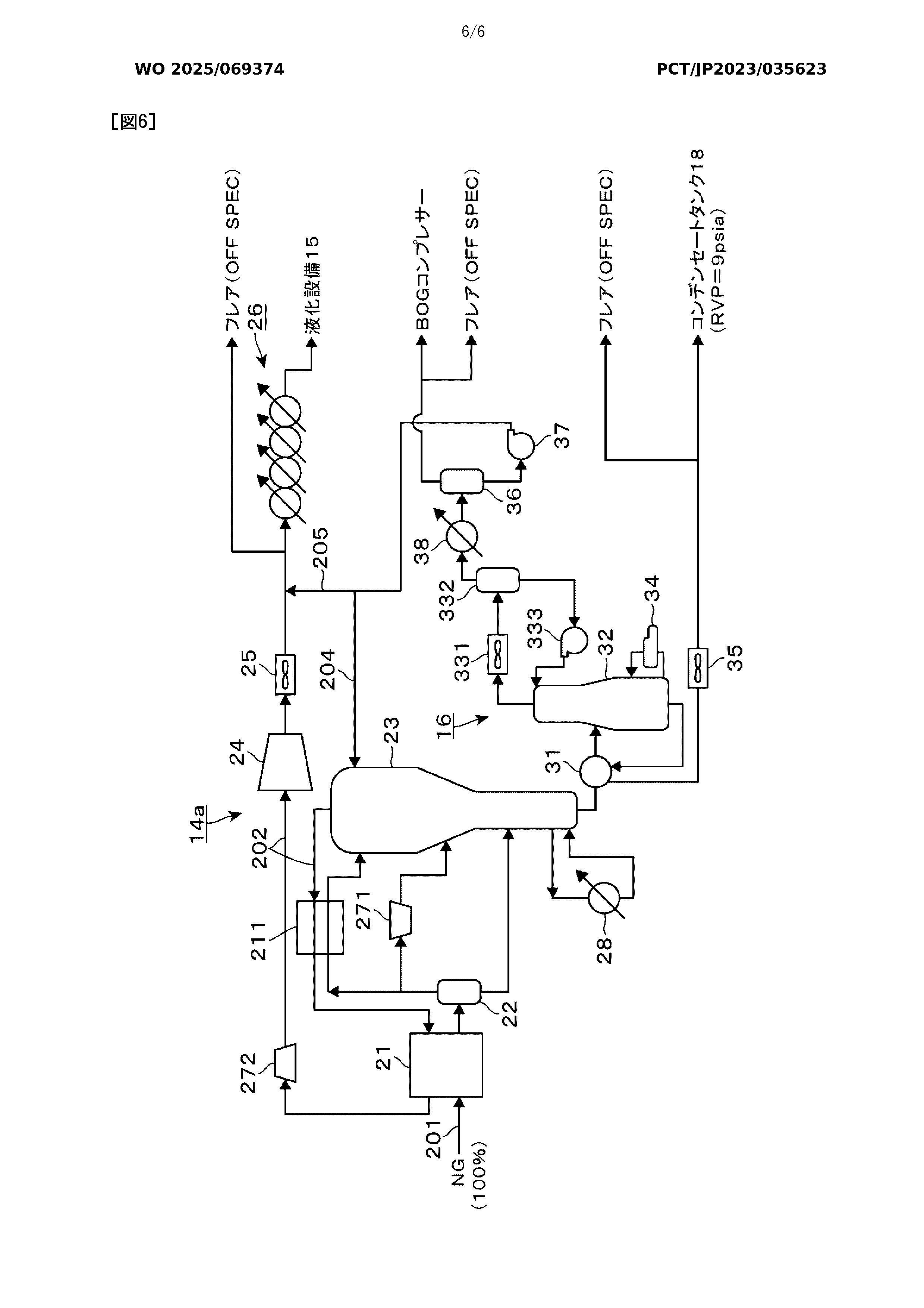
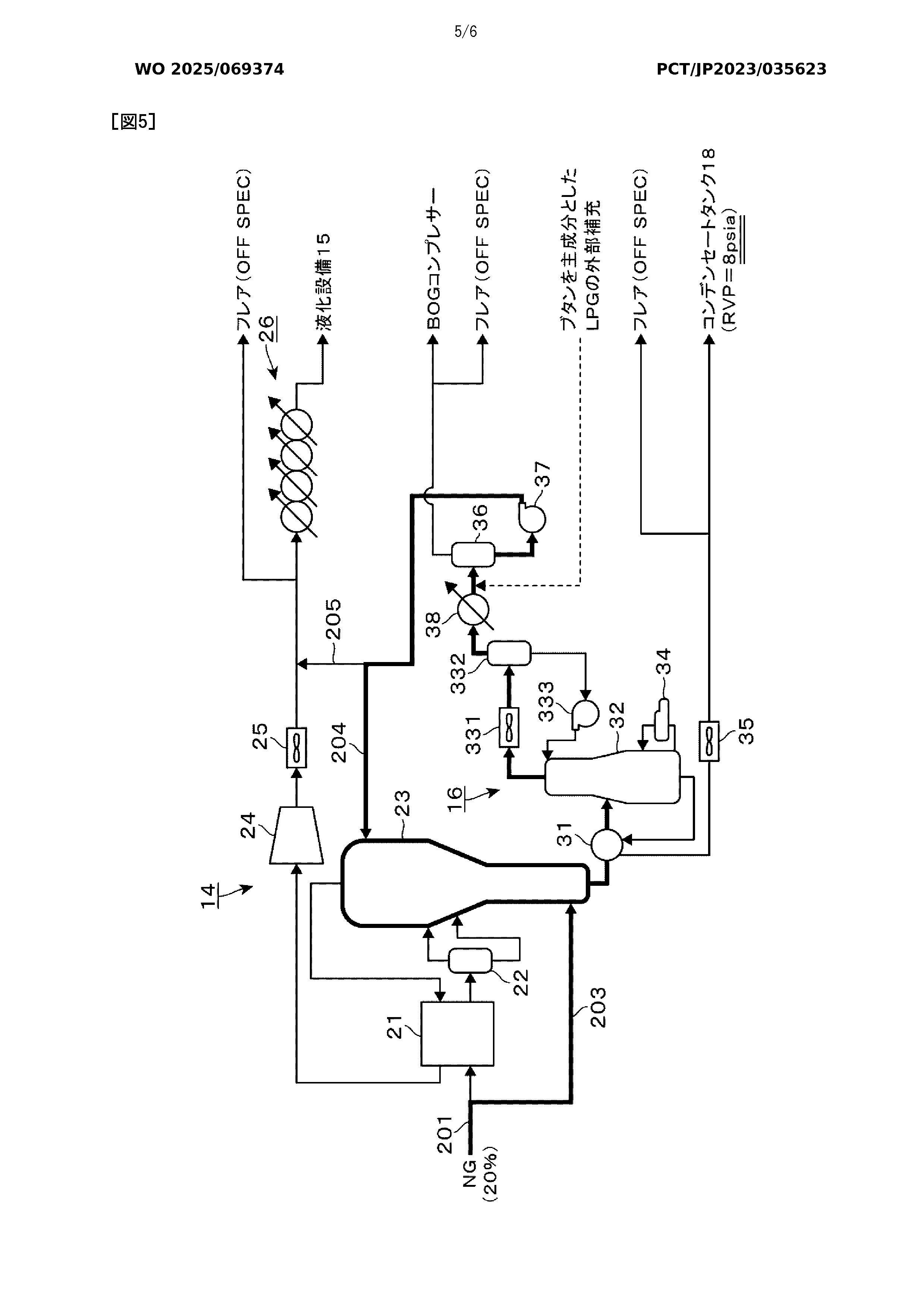
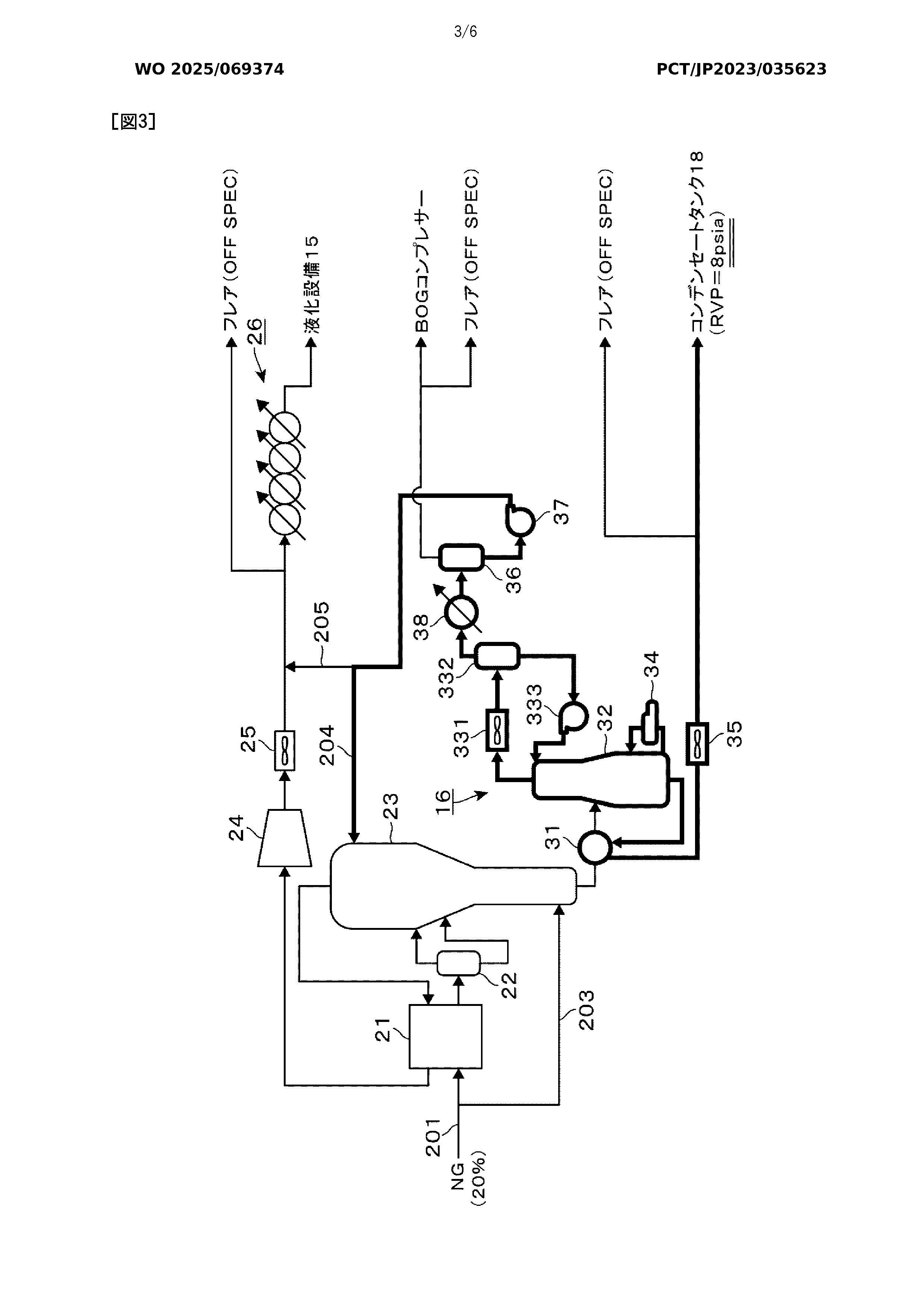
(EN) OPERATING METHOD OF DISTILLATION COLUMN
(57) Abstract
(EN)

An operating method of a distillation column includes: adjusting a fluid being treated, which is supplied to the distillation column, to a turndown-operation-time supply flow rate that is lower than a design-operation supply flow rate; increasing a turndown flux flow rate and a turndown reboiler flow rate, and raising a column-internal air-liquid load, in order to make the properties of a column-bottom product flowing out from the column bottom heavier than those in the design operation while satisfying specifications required in design, or making the properties of a column-top product flowing out from the column top heavier than those in the design operation while satisfying specifications required in design, for the distillation column to which the fluid being treated is supplied at the turndown-operation-time supply flow rate; and verifying that the properties of the column-top product or the column-bottom product satisfy required specifications.

(58) Citations
Document Type Date Action
Event NameDateStatus
Filing2023.09.29Filed
PCT National Phase Entry2023.09.29PCT National Phase
Filing2025.12.01Filed