Application Type
Patents
Application SubType
PCT
(10) Registration Number and Date
Status
Filed-Formality Examination
(180) Expiration Date
(20) Filing Number and Date
PG P/2025/000006 2023.07.25
(40) Publication Number and Date
(86) PCT Filing Number and Date
(87) PCT Publication Number and Date
(85) National Entry Date
(30) Priority Details
GB 2210952.4
2022.07.27
(51) IPC Classes
(72) Inventor
(EN) CHISLETT, Hannah : c/o Crown Packaging Manufacturing UK Limited Downsview Road Wantage Oxfordshire OX12 9BP, United Kingdom
(74) Representative Name
(EN) ALLENS : P.O BOX 1178, PORT MORESBY, NATIONAL CAPITAL DISTRICT
(54) Title
(EN) FULL APERTURE CAN END
(57) Abstract
(EN) --

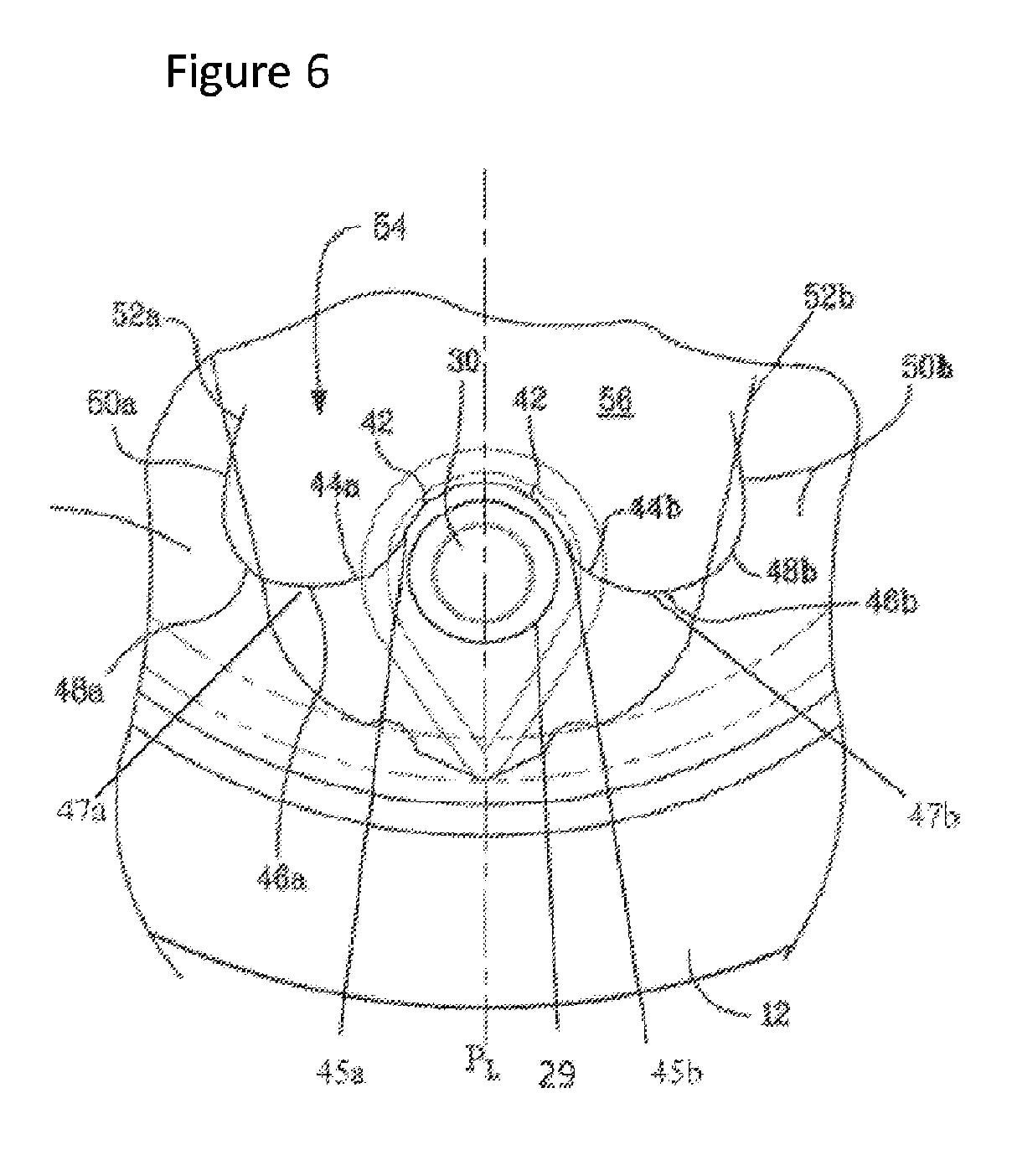
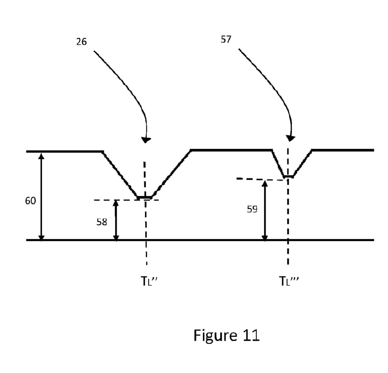
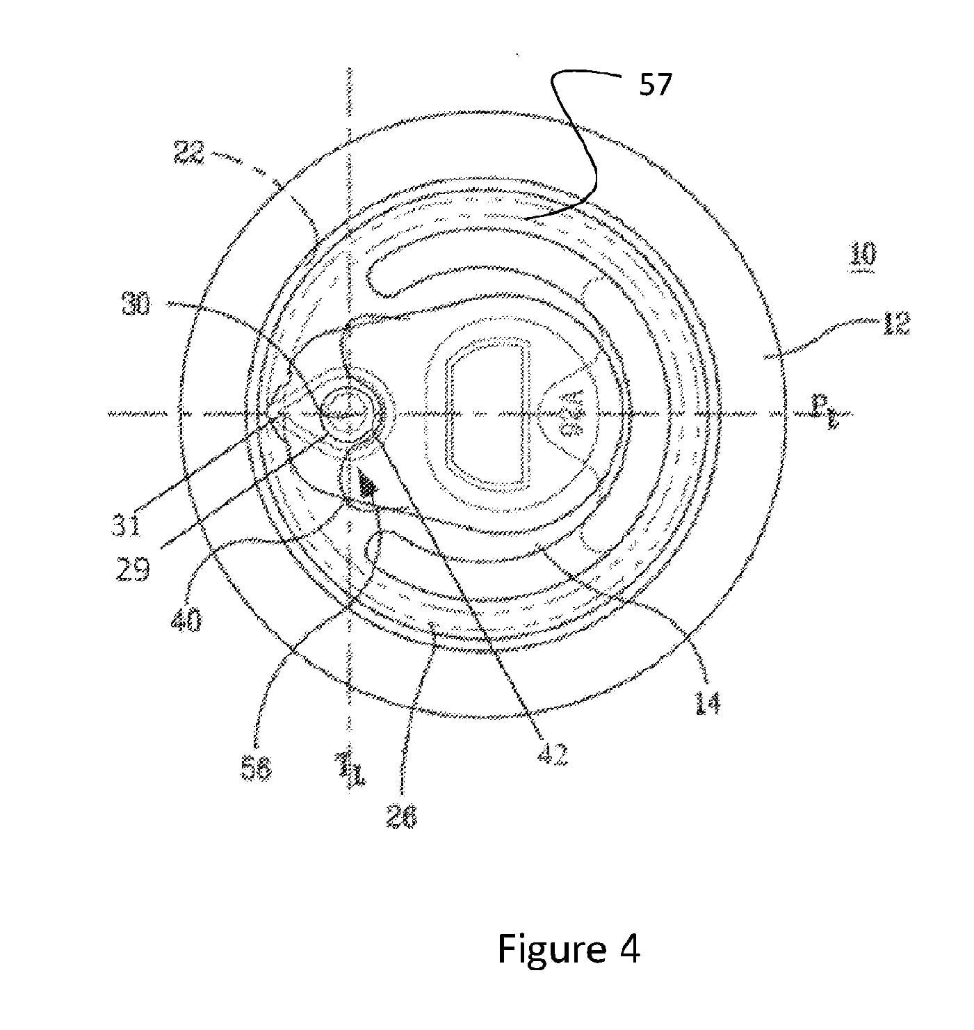
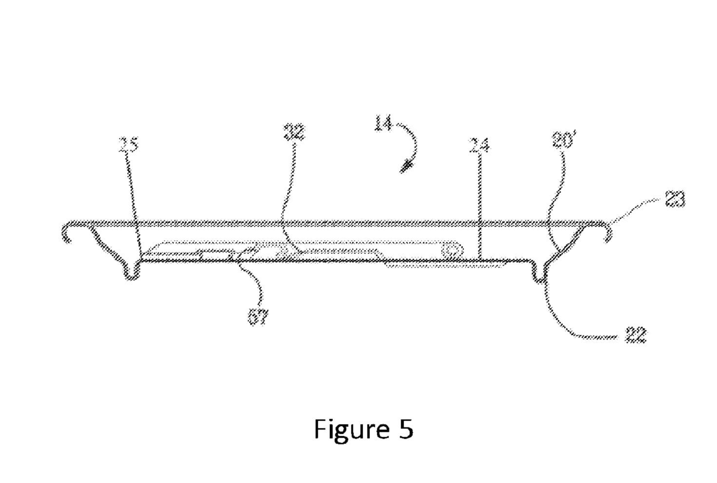
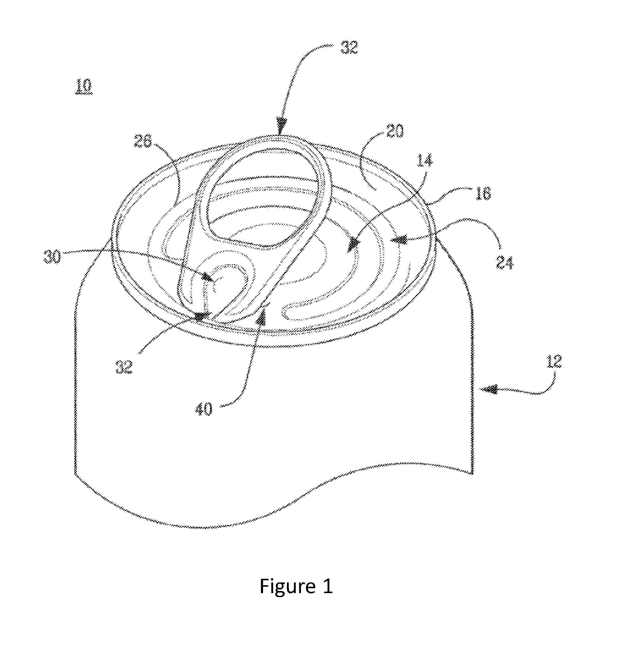
This disclosure relates to a full aperture can end. The can end comprises a centre panel having a rivet, a tab staked by the rivet, a main score extending around a peripheral region of the centre panel, the main score defining a removable panel, and a venting score disposed on the removable panel. The venting score includes a pair of lateral portions that do not extend radially beyond a lateral axis, which extends through a centre of the rivet, perpendicular to a longitudinal axis that extends through a centre of the rivet and a centre of the centre panel.

(58) Citations
Document Type Date Action
Event NameDateStatus
Filing2023.07.25Filed
PCT National Phase Entry2023.07.25PCT National Phase
Filing2025.04.11Filed