Application Type
Industrial Designs
Application SubType
Industrial Designs
(10) Registration Number and Date
3/000031 2022.05.25
Status
Registered-ID Registered
(180) Expiration Date
2029.12.12
(20) Filing Number and Date
PG /I/2019/000006 2019.12.12
(40) Publication Number and Date
3000031
2019.12.24
(30) Priority Details
AU 201913728
2019.07.03
(51/52) Locarno Classes
(74) Representative Name
(EN) VAI IP LAWYERS : P.O BOX 27, KONEDOBU, NATIONAL CAPITAL DISTRICT
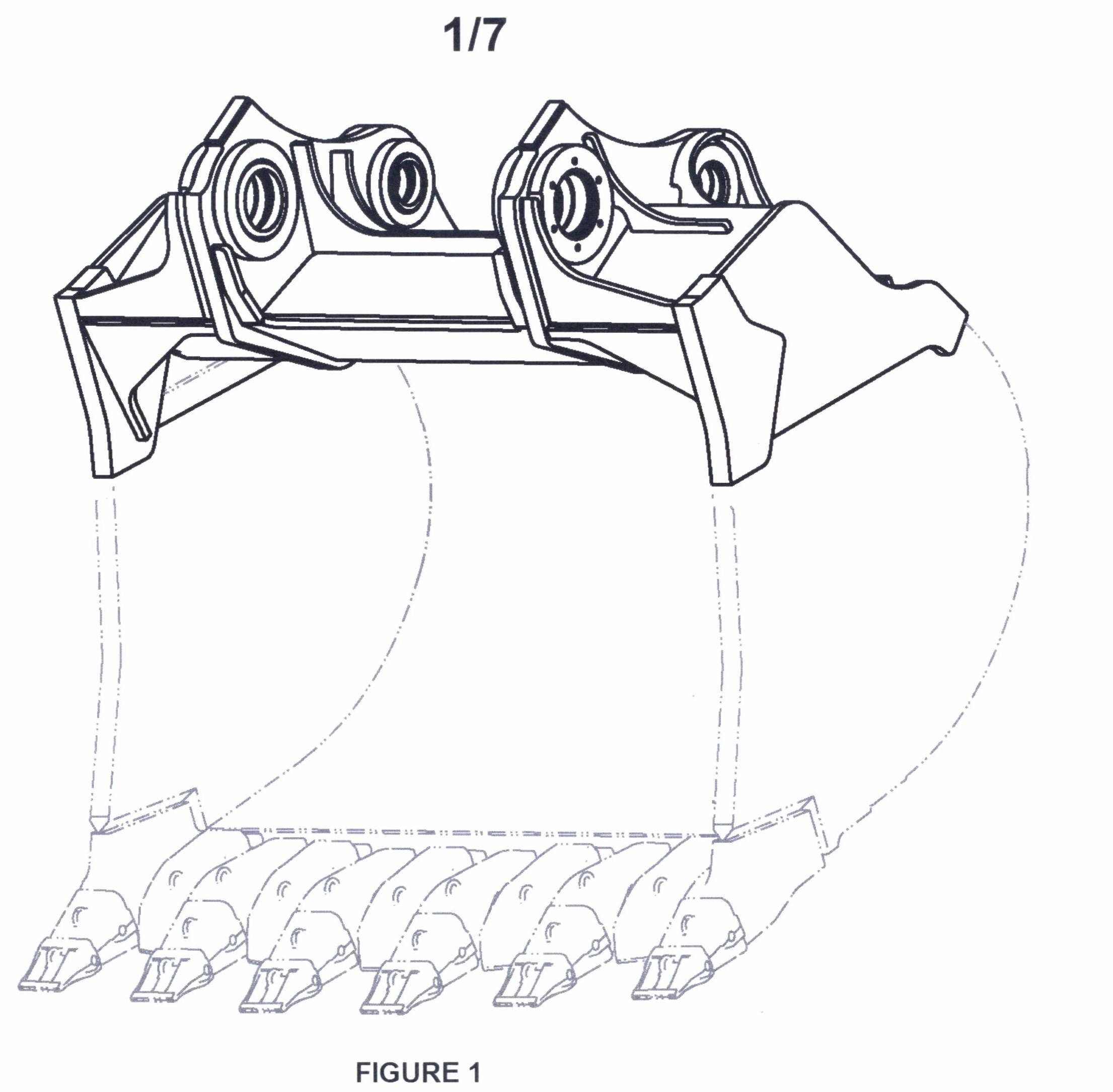
(54) Design Title
(EN) EXCAVATOR BUCKET
Abstract
(55) Design Nature
(56) Design Claims
ClaimDescription
Document Type Date Action
Event NameDateStatus
Filing2019.12.12Filed
Publication2019.12.24Published
Registration2022.05.25Registered
Registration2025.06.03Registered