Application Type
Industrial Designs
Application SubType
Industrial Designs
(10) Registration Number and Date
3/000028 2015.10.09
Status
Active-ID Pending removal
(180) Expiration Date
2016.11.11
(20) Filing Number and Date
PG /I/2011/000005 2011.11.11
(40) Publication Number and Date
3000028
2014.12.24
(30) Priority Details
AU 12115/2011
2011.05.12
(51/52) Locarno Classes
(74) Representative Name
(EN) ASHURST - PNG : P.O BOX 850, PORT MORESBY, NATIONAL CAPITAL DISTRICT
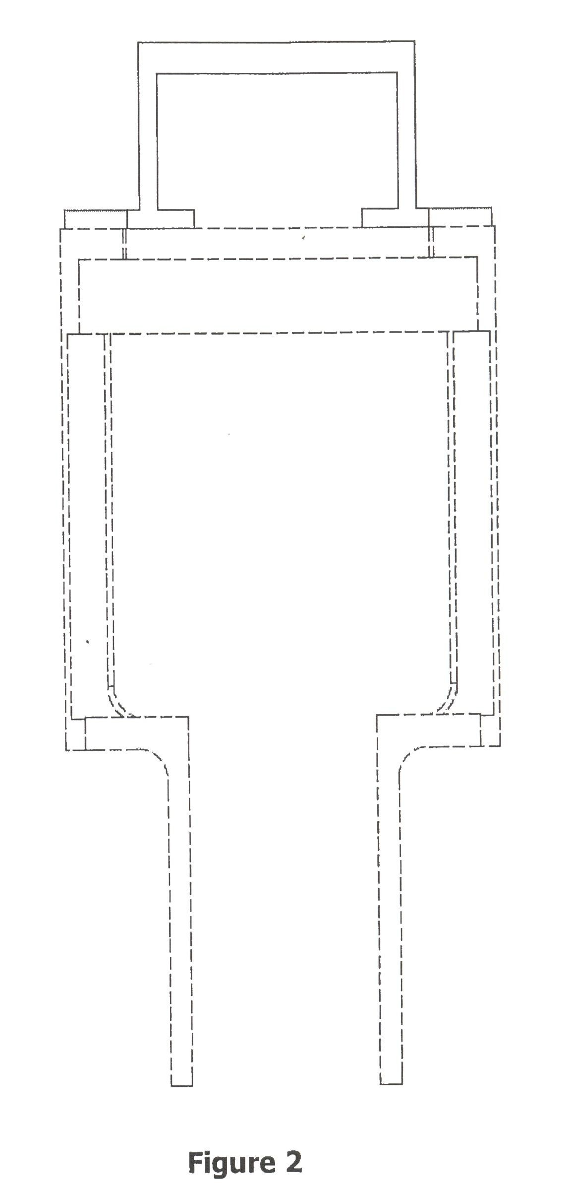
(54) Design Title
(EN) BRACKET
Abstract
(EN)

The bracket is used to support a valve closing mechanism in a gas supply system. More specifically, the bracket is a valve closing mechanism (for use in closing spindle-controlled valves of the type used with gas storage vessels)

(55) Design Nature
(56) Design Claims
ClaimDescription
Document Type Date Action
Event NameDateStatus
Filing2011.11.11Filed
Publication2014.12.24Published
Registration2015.10.09Registered
Activation2016.11.11Active